STUDIU ASUPRA PUNTII MOTOARE
Rotile automobilului, in functie de natura si de marimea fortelor si momentelor care actioneaza asupra lor, pot fi:
-roti motoare (antrenate): sunt rotile care ruleaza sub actiunea fluxului de putere primit prin intermediul transmisiei de la motorul automobilului;
-roti libere (conduse): sunt rotile care ruleaza sub actiunea unei forte de impingere sau tragere, de acelasi sens cu sensul vitezei de deplasare a automobilului, exercit 252b15c ata asupra lor de cadrul sau caroseria automobilului;
-roti franate: sunt rotile care ruleaza sub actiunea unui moment de franare dezvoltat in mecanismele de franare ale rotilor (franare activa), sau de catre grupul motopropulsor in regim de mers antrenat (frana de motor).
Pentru autoturisme, prevazute cu doua punti, organizarea tractiunii se poate realiza dupa solutiile 4x2 sau 4x4, prima cifra indicand numarul rotilor, iar cea de-a doua, pe cel al rotilor motoare. Pentru organizarea tractiunii de tipul 4x2, puntea motoare poate fi dispusa in fata sau in spate, iar pentru tipul 4x4 ambele punti sunt cu roti motoare.
Puntile motoare, fata de cele nemotoare, asigura transferul fluxului de putere pentru autopropulsare, functie de modul de organizare a tractiunii, de la arborele secundar al cutiei de viteze sau de la transmisia longitudinala, la rotile motoare. De-a lungul acestui transfer, fluxul de putere sufera o serie de adaptari si anume:
-adaptare geometrica determinata de pozitia relativa dintre planul in care se roteste arborele cotit al motorului si planul in care se rotesc rotile motoare;
-adaptare cinematica determinata de asigurarea rapoartelor de transmitere necesare transmisiei automobilului;
-divizarea fluxului de putere primit in doua ramuri, cate unul transmis fiecarei din rotile motoare ale puntii.

Pentru a-si indeplinii functiile de mai inainte mecanismele fluxului de putere din puntea motoare cuprind: transmisia principala (sau angrenajul principal), diferentialul si transmisiile la rotile motoare.
In procesul autopropulsarii, din interactiunea rotilor motoare cu calea, iau nastere forte si momente de reactiune. Puntea are rolul de a prelua toate aceste forte si momente si de a le transmite elementelor elastice ale suspensiei si cadrului sau caroseriei automobilului. Preluarea fortelor si a momentelor, precum si transmiterea lor dupa directii rigide cadrului sau caroseriei automobilului, se face de un ansamblu constructiv al puntii, numit mecanismul de ghidare al rotilor. Mecanismul de ghidare defineste, in ansamblul puntii, cinematica rotii suspendate elastic prin intermediul suspensiei. Se definesc astfel punti rigide si punti articulate.

Transmisia principala cuprinde toate mecanismele din punte care realizeaza o demultiplicare a turatiei motorului.
Rolul transmisiei principale este de a mari momentul motor primit de la transmisia longitudinala sau de la arborele primar al cutiei de viteze si de a-l transmite, prin intermediul diferentialului si arborilor planetari, la rotile motoare, ce se rotesc in jurul unei axe dispuse sub un unghi de 900 fata de axa longitudinala a automobilului.
Amplificarea momentului motorului, cu un raport de transmitere de regula constant, numit raportul de transmitere al puntii motoare (notat io), reprezinta adaptarea cinematica necesara impusa de conlucrarea motor transmisie. Pentru a realiza aceasta functie, prin constructie transmisiile principale sunt mecanisme de tipul angrenajelor. La autoturisme, la care valoarea necesara a raportului de transmitere este cuprinsa in intervalul de valori 35, transmisia principala este constituita dintr-un singur angrenaj. Astfel de transmisii principale se numesc transmisii principale simple.
Adaptarea geometrica a fluxului de putere pentru autopropulsare presupune directionarea lui de la axa in jurul careia se roteste arborele cotit al motorului la axa transversala a automobilului, in jurul careia se rotesc rotile motoare. Aceasta functie se realizeaza in transmisia principala prin tipul angrenajului utilizat si anume angrenaje cu axe ortogonale in cazul dispunerii longitudinale a motorului si angrenaje cu axe paralele la dispunerea transversala a motorului.
Destinatia, conditiile impuse, elementele componente si clasificarea
puntilor fata
Puntile din fata:
-preiau si transmit cadrului sau caroseriei prin intermediul suspensiei,
fortele si momentele ce apar din interactiunea rotilor cu calea;
-permit schimbarea directiei de deplasare a automobilului;
-la automobilele cu tractiune integrala sau la cele organizate dupa solutia "
totul in fata ' puntea din fata este si motoare, realizand transmiterea
fluxului de putere al motorului de la transmisia longitudinala sau arborele
secundar al cutiei de viteze.
Conditiile ce trebuie satisfacute de puntea fata sunt:
-sa asigure o cinematica corecta rotilor in timpul oscilatiei caroseriei;
-sa asigure o buna stabilitate rotilor de directie;
-sa asigure manevrarea usoara a automobilului si o uzura cat mai mica a
pneurilor;
-sa aiba o greutate proprie mica;
-sa fie suficient de rezistenta si sigura in exploatare.
Constructiv puntea din
fata motoare cuprinde:
Fig. 5.2 Articulatii bicardanice
cu cruce si dispozitiv de centrare.
La articulatiile bicardanice cu
cruce, sincronismul transmiterii miscarii la unghiuri mari. nu se asigura,
deoarece furcile exterioare 1 si 2 se inclina independent fata de furca
intermediara, Pentru inlaturarea acestui inconvenient, articulatiile
bicardanice sunt prevazute, de obicei, cu dispozitive de centrare, care asigura
o independenta intre cele doua unghiuri prin mentinerea furcii intermediare in
planul bisector al furcilor exterioare.
La articulatia bicardanica din figura 5.2,a, dispozitivul de
centare este o cupla teramobila de tip sfera - cilindru, iar centrarea la
articulatia bicardanica din figura 5.2,b, cunoscuta sub denumirea de cupaj
bicardanic homocinetic Gorg - Warner, este asigurata de o cupla tetramobila
superioara.

Fig. 5.3.
Cuplaj unghiular Tracta
Cupajul Tracta asigura transmiterea sincrona a miscarii de rotatie intre arborii cuplati, prin intermediul cuplelor de translatie. Sunt utilizate in special la antrenarea rotilor motoare si de directie ale autocamioanelor destinate sa ruleze in conditii grele de teren.

Fig. 5.4. Cuplaj unghiular Weiss.
1,2 - furci; 3 - bile laterale; 4 - bila centrala; 5,6 - stifturi.

Fig. 5.5. Cuplaj unghiular Rzeppa

Fig.5.6. Cuplaj unghiular axial Rzeppa.

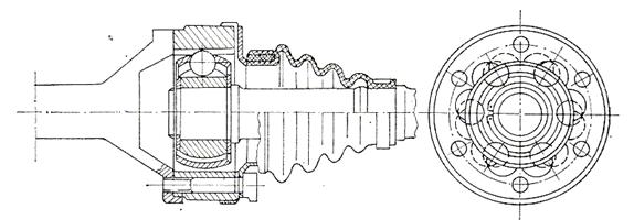
Fig. 5.7. Cuplaj unghiular Rzeppa cu deplasare axiala telescopica.

5.8. Cuplaj unghiular axial
tripod.
1 - galeti sferici; 2 - fus element tripod; 3 - carcasa; 4 - arbore.
5.1.3. Fuzete si pivoti
Fuzeta sau axa rotii reprezinta osia de rezemare a butucului
rotii. Ea are sectiunea circulara. Pe ea se monteaza rulmentul butucului rotii.
Este prevazuta la capat cu o portiune filetata pentru piulitele de fixare si
reglare a jocului din lagarele cu rulmenti.
Fig.
5.9. Tipuri constructive de pivoti
si fuzete pentru punti rigide

Fig. 5.10.Tipuri constructive de pivoti si fuzete pentru punti articulate
5.1.4. Tipuri constructive de punti din fata
Constructia unei
punti rigide nemotoare.
Constructia si schema
cinematica a unei punti rigide motoare.
Constructia unei
punti articulate motoare, cu articulatii sferice
Constructia unei
punti articulate nemotoare cu articulatii cilindrice
Constructia puntii
articulate tip Mc Pherson
Sectiune in perspectiva. Punte motoare fata autocamion DAC
665T
Punte fata
Rulmentii pinionului
de atac
Diferentialul
Pompa de ulei
Arbore planetar

5.1.4.1. Constructia unei
punti rigide nemotoare.
1 - fuzeta; 2,3 - rulment cu role conice; 4 - levier (brat) comanda caseta de
directie; 5 - bara longitudinala; 6 - suprafete de sprijin; 7 - puntea fata
(grinda); 8 - bara conexiune(transversala); 9 - pivoti; 10 - taler port saboti;
11 - butuc roata

5.12. Constructia si schema cinematica a unei punti rigide motoare.

Fig.5.13. Constructia unei punti articulate motoare, cu articulatii sferice

5.14. Constructia unei punti articulate nemotoare cu articulatii cilindrice

Fig. 5.15. Constructia puntii
articulate tip Mc Pherson.
Elementele componente ale puntii din fata a autocamionului DAC 665 T, la nivel
reper, sunt prezentate in fig. 5.16 - 5.21.

Fig. 5.16 Sectiune in perspectiva. Punte motoare fata autocamion DAC 665T

Fig. 5.17 Punte fata
PUNTE FATA

Fig. 5.18 Rulmentii pinionului de atac
RULMENTII PINIONULUI DE ATAC

Fig. 5.19 Diferentialul
DIFERENTIALUL

Fig. 5.20 Pompa de ulei
POMPA DE ULEI

Fig. 5.21 Arbore planetar
ARBORELE PLANETAR
5.1.5.
REDUCTOARELE LATERALE
5.1.5.1. Destinatia reductoarelor
laterale.
Reductoarele laterale
asigura:
ultimul raport de transmitere a miscarii de rotatie;
marirea fortei de tractiune la rotile motrice.
Este de tipul cu o singura treapta de transmitere, a carei valoare este 2,75 : 1.
5.1.5.2. Elemente componente.
Elementele componente ale reductorului lateral sunt:
carcasa;
pinionul de comanda;
pinionul comandat.
La nivel
reper, reductorul lateral este prezentat in fig. 68a si 68b.

2. Pinion conducator punte spate 3. Pinion condus reductor punte spate

Fig. 5.22. Reductorul lateral al
rotii
b. 6. Pinion
condus punte motoare fata
23. Pinion conducator punte motoare fata
5.1.5.3. Principiul de functionare al reductorului lateral
Miscarea de rotatie a arborelui de antrenare preluata de la
diferential este cedata pinionului de comanda 2, care in angrenare directa cu
pinionul comandat 3, o transmite in continuare arborelui planetar al rotii.
|